O que realmente importa: iPhones poderão reconhecer latidos humanos no futuro

[vc_row][vc_column width=”1/2″][vc_column_text]

O que realmente importa: iPhones poderão reconhecer latidos humanos no futuro

 

299846?w=646&h=284

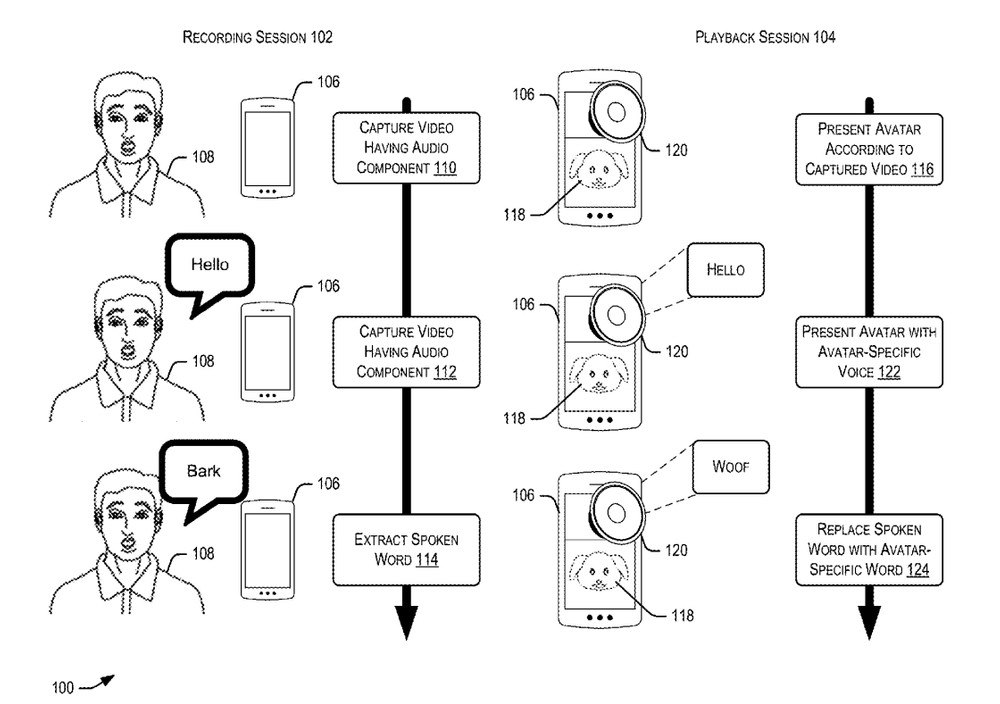
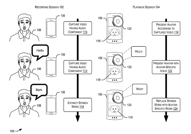
Sim, se o Animoji já não tivesse sido uma implementação no mínimo curiosa para ser vendida como destaque do iPhone X no ano passado, agora a Apple promete melhorar o recurso. Isso porque de acordo com um novo pedido de patente solicitado em fevereiro desse ano – e tornado público apenas nesta semana – a gigante de Cupertino quer ir além, permitindo que avatares possam incluir recursos de voz específicos.

365119?w=660&h=464

Nas imagens anexadas no documento é possível observar que, por exemplo, com o avatar de cachorro tudo que a pessoa falar poderia ser traduzido em latidos. E mais do que isso: ao usar Anomojis em outro avatar e latir, o iPhone seria plenamente capaz de identificar o som e automaticamente mudar para o bichano de quatro patas.

É o que realmente importa.

O recurso seria um passo além das máscaras já muito usadas no Snapchat, Facebook e até Instagram que, por exemplo, mudam alguns efeitos a partir de movimentos da boca, mas incluindo o componente áudio nesse processo.

A patente indica ainda que a companhia pode avançar nesse sentido inclusive traduzindo diretamente expressões faciais em latidos específicos no caso da máscara do cachorro, ou em palavras específicas em outras máscaras, porém esse último mais difícil de compreender seus usos.

Vale lembrar, o iOS 12 recebeu mais de 70 novos emojis recentemente. O recurso completou dez anos na Apple em 2018.

[/vc_column_text][/vc_column][vc_column width=”1/2″][contact-form-7 id=”6414″][/vc_column][/vc_row]